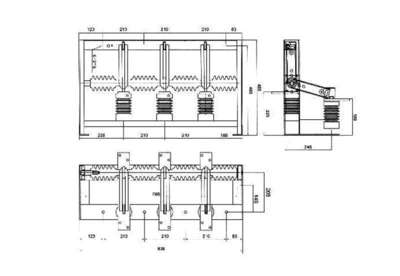
Estructura y rendimiento
El seccionador de puesta a tierra del lado del cable GN□-12D presenta una estructura innovadora y es un nuevo tipo de seccionador desarrollado independientemente por la empresa. Los contactos móviles y estáticos se instalan en dos aisladores paralelos. Ofrece un espacio de instalación reducido, una conexión cómoda a las barras colectoras, una fractura evidente y es adecuado para diversas alturas de instalación. Puesta a tierra en el lado de los cables de salida separados y de protección.
Los principales parámetros técnicos
| Especificaciones del modelo | GN□-12D/630 | GN□-12D/1250 | |
| Tensión nominal (kV) | 12 | ||
| Corriente nominal (A) | 630 | 1250 | |
| Corriente admisible de corta duración de 4 s (kA) | 20 | 31.5 | |
| Corriente de pico admisible nominal (kA) | 50 | 80 | |
| Nivel de aislamiento nominal | Tensión de impulso de rayo (kV) | Fase a fase, con respecto a tierra 42, fractura 48 | |
| Tensión soportada a frecuencia industrial de 1 min (kV) | Fase, relativa a 75, fractura 85 | ||
Forma y dimensiones de instalación

> Sofielec expone en la Exposición Asia Power Electrician and Smart Grid, del 21 al 23 de julio de 2021, Pazhou Hall, Guangzhou, Stand No. 9.2, Hall H11.
Estimados todos, exhibiremos en la Exposición Asia Power Electrician and Smart Grid, del 21 al 23 de julio de 2021, Pazhou Hall, Guangzhou, Stand No. 9.2, Hall H11.
> Función y principio de funcionamiento, parámetros técnicos y selección de RCCB/ELCB
(1) Función: Se utiliza principalmente para cortar rápidamente el suministro eléctrico cuando se produce una descarga eléctrica o una fuga, para garantizar la seguri...
> Resumen de conocimientos comunes sobre interruptores diferenciales/disyuntores diferenciales
1. El disyuntor de fugas de la serie CDL7 es adecuado para CA 50 Hz, voltaje nominal de 400 V, corriente nominal de 63 A y el rendimiento de la acción no tiene nada ...
> 16 puntos de conocimiento le permiten comprender completamente el principio de funcionamiento y la función del RCCB/ELCB
1. Qué es un interruptor diferencial/interruptor diferencial eléctrico (RCCB/ELCB)? Respuesta: El RCCB/ELCB (interruptor de protección contra fugas) es un dispositiv...




